
Microsoft is at the forefront of the augmented reality revolution with the HoloLens, but the headset has been dogged by complaints that the limited field of view (less than 40 degrees) actually covered by the display makes the marketing of the $3000 headset misleading, despite very few of the actual users complaining of the issue.
Now Microsoft has posited a potential solution for the issue, but one which is unlikely to make the device much cheaper.
In a patent application they write:
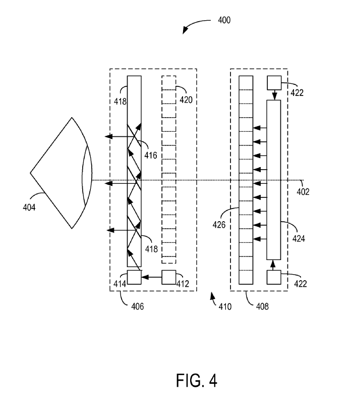
Display technologies that may be used for a near-eye display/HMD device include waveguide-based, birdbath, lightfield, and other suitable display configurations. However, each type of display may provide a distinct set of advantages and disadvantages. For example, waveguide-based and birdbath devices may provide high-resolution images with high sharpness and contrast ratios, but may only display across a narrow field of view with weak or no depth cues and low occlusion effects when presented over real-world objects (as viewed through the see-through display). Lightfield displays, such as pinlight displays, may provide images across a wide field of view with perceptible depth cues and the ability to occlude portions of a real-world environment (as viewed through the see-through display). However, such lightfield displays may suffer from low resolution, contrast, and sharpness, resulting in low quality images relative to the waveguide-based/birdbath configurations.
The HoloLens uses a waveguide display, which offers a sharp, high resolution but small field of view image, while the unicorn-like MagicLeap was meant to use lighfield technology, which offers a larger field of view and ability to be completely opaque to the outside world, but is less sharp and offers lower resolution.
Now Microsoft proposes to combine the advantages of both technologies by stacking the two type of displays.

The present disclosure recognizes the complementary features of the above-described display configurations and provides display systems and methods that combine two types of display configurations to selectively present virtual objects via one or both of the types of display configurations based on features of the virtual objects. For example, in a display system with two types of display configurations, virtual objects to be presented in a periphery of a user’s viewspace (e.g., the viewspace of the user through a see-through display) may be presented via a display configuration that has a wide field of view. The location of the virtual object may be outside of the field of view of a display configuration with a narrow field of view, and the low resolution/quality of images produced by the configuration with a wide field of view may be tolerable in the peripheral region (e.g., as the user is not directly viewing the object). Other features taken into consideration when selectively presenting virtual objects via different display configurations of a display system will be described in more detail below.
The two displays could be used in various intelligent ways, such as showing some elements only on one display, or using the ability to black out a background using the lightfield display and then adding detail using the waveguide display.

Combining the techniques could improve the field of view from 40 degrees to 80-90 degrees and also improve the quality of the images overall, but we suspect at significant cost to complexity and monetary cost.
The full patent can be seen -.






